- 集團網站
- 選擇區域/語言
登錄
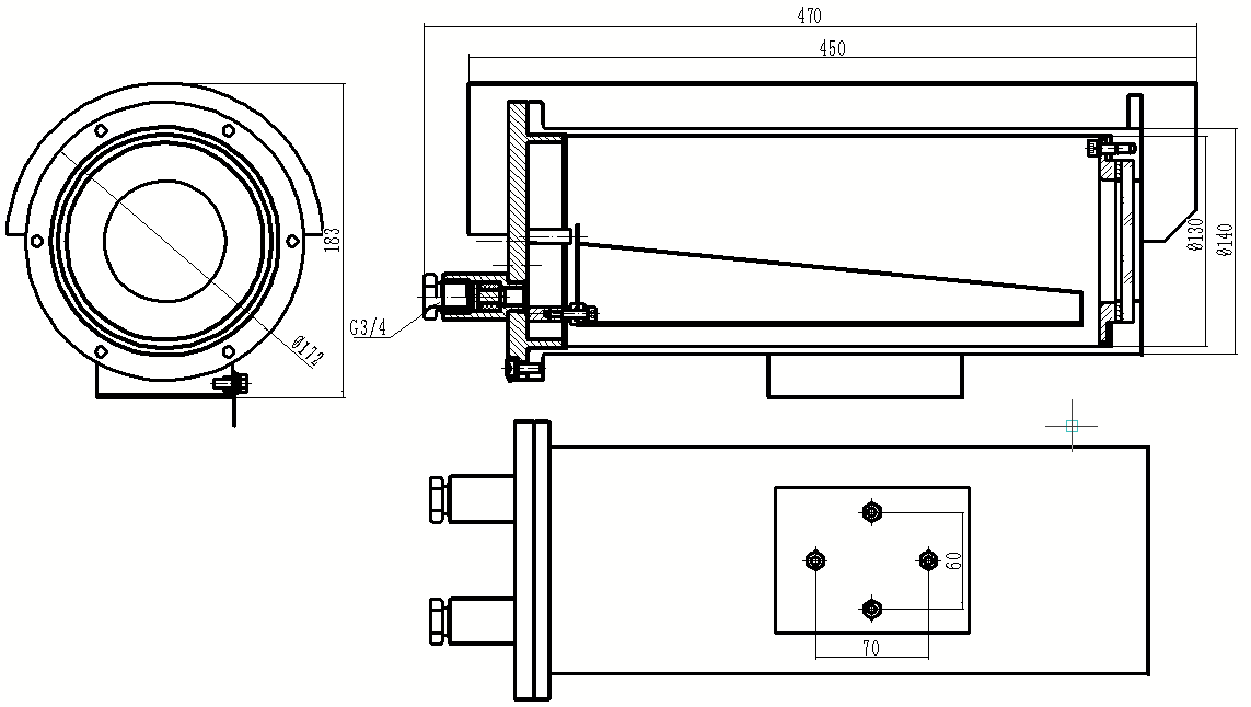
型號 |
IPC-FB8810 |
防爆證號 |
GYB16.1517X |
內腔尺寸 |
320(L)*70(W)*70(H)mm |
外形(xíng)尺寸 |
470(L)*Ø172(W)*183(H)mm |
材料 |
外殼304或316L不(bú)鏽鋼 |
防護等級 |
防護等級 IP68 |
安裝方式 |
壁裝或者吊裝 |
供電方式 |
DC12V |
接(jiē)口(kǒu) |
1 個 3/4" 出線孔 |
紅外距離(lí) |
80M |
重量 |
10Kg |

銷(xiāo)售支持
技術支(zhī)持
400-631-6166